Το Apple Vision Pro μπορεί να μην αποστέλλεται με ελεγκτές, αλλά μια πρόσφατα δημοσιευμένη αίτηση για δίπλωμα ευρεσιτεχνίας δείχνει ότι οι ελεγκτές εξακολουθούν να ερευνώνται ενεργά από την εταιρεία.
Εντοπίστηκε από Ευτυχώς η Appleμια αίτηση ευρεσιτεχνίας της Apple που δημοσιεύτηκε σήμερα αποκαλύπτει ότι η εταιρεία εξακολουθεί να ερευνά ενεργά ελεγκτές για είσοδο XR, συμπεριλαμβανομένων συσκευών που μοιάζουν με γραφίδα με εισόδους κλήσης.
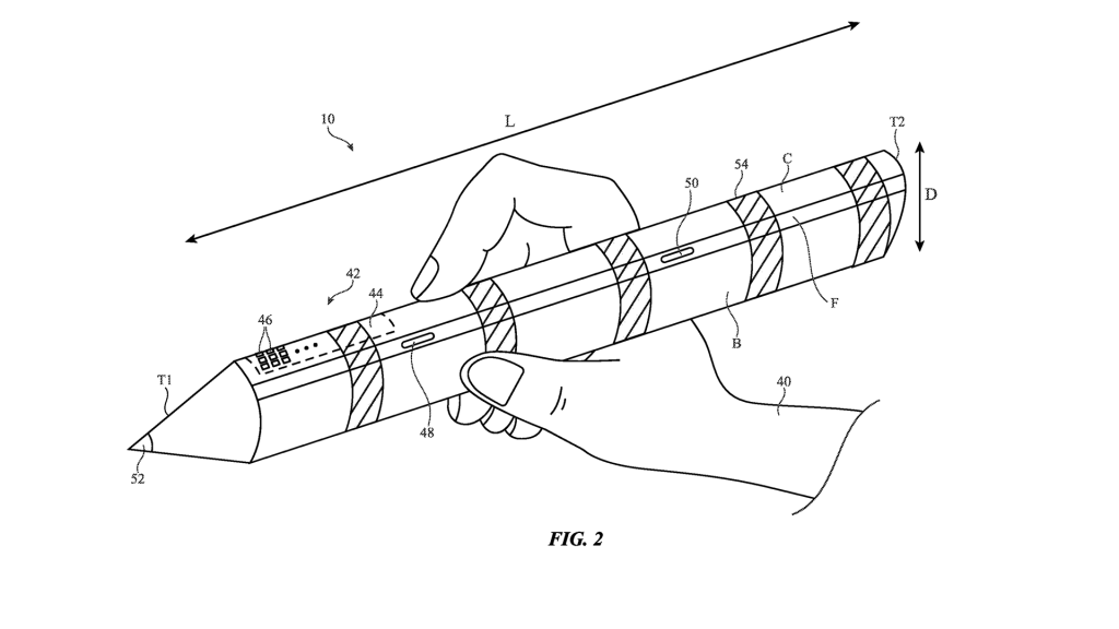
Οι φωτογραφίες στο δίπλωμα ευρεσιτεχνίας δείχνουν διάφορες ιδέες για έναν τέτοιο ελεγκτή, συμπεριλαμβανομένων συσκευών που μοιάζουν με γραφίδα και συσκευών που μοιάζουν με ραβδί. Η αίτηση διπλώματος ευρεσιτεχνίας λέει ότι οι ελεγκτές θα μπορούσαν να χρησιμοποιήσουν διάφορους αισθητήρες για τον εντοπισμό της πρόθεσης του χρήστη, συμπεριλαμβανομένων των ευαίσθητων στην αφή επιφανειών, κουμπιών ή καντράν.
Υπάρχει ακόμη και μια ιδέα για μια συσκευή που μοιάζει με ραβδί που χωρίζεται σε δύο ελεγκτές για είσοδο με δύο χέρια.
«Το περίβλημα μπορεί να έχει ένα πρώτο και δεύτερο τμήμα περιβλήματος που λειτουργούν σε έναν πρώτο τρόπο λειτουργίας στον οποίο το πρώτο και το δεύτερο τμήμα περιβλήματος συνδυάζονται μεταξύ τους και έναν δεύτερο τρόπο στον οποίο το πρώτο και το δεύτερο τμήμα περιβλήματος διαχωρίζονται το ένα από το άλλο για να σχηματίσουν ανεξάρτητο χέρι -συγκρατημένες συσκευές ελεγκτή», αναφέρει η εφαρμογή.
Αν και δημοσιεύτηκε σήμερα, η αίτηση για δίπλωμα ευρεσιτεχνίας (προσδιορίζεται ως US20240012496A1) κατατέθηκε για πρώτη φορά από την Apple στα μέσα του 2023. Φυσικά, οι αιτήσεις για διπλώματα ευρεσιτεχνίας δεν αποδεικνύουν ότι μια εταιρεία εργάζεται ενεργά σε ένα πραγματικό προϊόν. Αποτελεί κοινή πρακτική για τις μεγάλες εταιρείες να διασφαλίζουν τη μελλοντική IP «μόνο σε περίπτωση» που επιλέξουν ποτέ να το ακολουθήσουν ή να αποκλείσουν τους ανταγωνιστές τους.
Ωστόσο, έχουμε μια έντονη αίσθηση ότι ένα χειριστήριο που μοιάζει με γραφίδα δεν θα είναι εκτός τραπέζι για το Vision Pro στο μέλλον. Η Apple σίγουρα θα θέλει να ενεργοποιήσει ροές εργασιών επαγγελματικής σχεδίασης που απαιτούν σχεδόν καθολικά μια ακριβή συσκευή κατάδειξης – για τον ίδιο λόγο που κυκλοφόρησε τελικά τη γραφίδα Apple Pencil για iPad.

